办公平台
企业邮箱
加入收藏
中文
|
英文
首页
企业概况
董事长致辞
集团简介
领导团队
组织架构
企业资信
营业执照
体系认证
企业信用
企业资质
企业文化
新闻中心
集团要闻
媒体聚焦
经营动态
公告
五冶画册
《中国五冶》报
《新坐标》杂志
产品业绩
工程总承包
钢结构及装配式
房地产开发
项目投资
企业荣誉
综合奖
工程奖
国家级工程奖
省部级工程奖
地市级工程奖
创先争优
集体
个人
科技成果
专利
工法
技术标准
技术成果
科研成果
新技术示范成果
科技成果奖
BIM成果奖
成套技术
党群建设
党建工作
共青团工作
工会工作
信息公开
公开规定
公开信息
人才招聘
精英招聘
集团招聘
分(子)公司招聘
校园招聘
联系我们
联系我们
网站地图
首页
新闻中心
公告
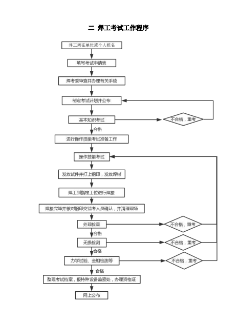
焊工考试机构介绍
焊工考试机构介绍
来源:中国五冶焊工考试机构
作者:钢构公司
发布时间:2024年11月21日
浏览:67667 次
上一篇:关于万汇都江堰学府三期项目临时建设工程设计中标结果公示
下一篇:公正性声明